注意事項:
管道離心泵安裝
裝配與拆卸
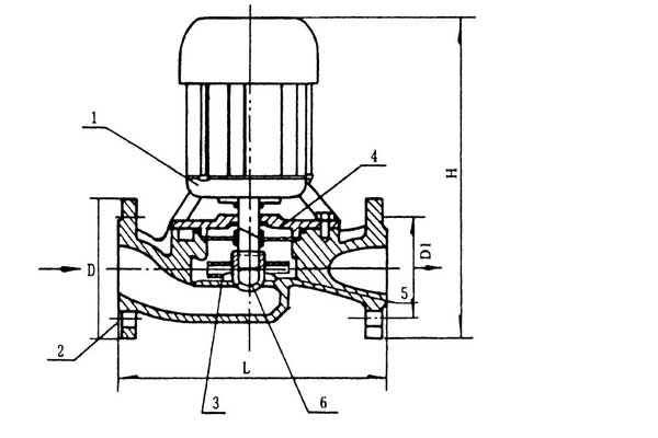
1.把所有待裝的零部件擦洗干凈。
2.在電機主軸上裝機械密封,在機械密封動、靜環配合的表面,加少量潔凈的透平油或20號機油。
3.裝葉輪,用葉輪螺母緊固。
4.裝"0"型圈,把泵體與電機端蓋用螺栓緊詞。注意使葉輪前蓋板與泵體間隙為2十0.5毫米,葉輪進口外圈與泵體保證一定的運轉間隙。
5.拆卸順序與此相反。
安裝與使用
1.用橡膠墊圈與螺栓把泵體兩端法蘭與管路法蘭連接好,即完成按裝。為了使用與維修方便,在泵的進、出口管路上均應按裝一只調節閥。
2.打開進口調節閥, 使水進入泵中,以保持密封腔內充滿液體(否則會研損密封),關閉出口閥。
3.接通電源,點動確定正確轉向。
4.轉向確定后,使泵啟動、運轉。
5.調節出口閥開度, 使泵在設計點附近運行,據泵的額定流量和揚程附近。〔為此,最好在出口法蘭附近裝一只壓力表)。注意:本泵嚴禁缺水運轉,以免損壞密封件。
故障排除
故障 | 原因 | 排除方法 |
1.水泵不出水 | 注入水泵的水不夠,旋轉方向不對,葉輪流道堵塞。 | 再往水泵內注水,輸通葉輪流道,調正旋轉方向。 |
2.水泵流量不足 | 水泵部分淤塞,轉數太低,總揚程高于泵額定值,葉輪損壞。 | 清洗水泵及管子,更換葉輪,增加水泵軸轉數,調節出口閥。 |
3.出口壓力不足 | 液體中有空氣,轉速太低,葉輪損壞,出口閥開度過大。 | 排除液體中空氣,增加泵轉速,更換葉輪,調小出口閥。 |
4.泵消耗功率過大(電機發熱) | 機械缺陷如運轉間隙過小,電機軸彎,螺栓松動等,泵在太大的流量下工作即泵在遠低于額定揚程下工作。 | 檢?機械部分及時調整處理,調正出口閥使泵在額定流量和揚程附近工作。 |
5.水泵振動 | 管道系統支撐不好,葉輪部分堵塞造成不平衡,產生氣蝕,液體中有空氣。 | 檢?泵支撐部門,擰緊螺母,輸通葉輪使其平衡,排除交氣。 |
6.水泵漏水 | 機械密封損壞,0型圈損壞,泵體漏水。 | 更換機械密封及0型圈,焊接泵體漏水處。 |
7.水泵噌音過重 | 軸承過熱缺油,水泵負荷過重。 | 軸承處加油,按4排除。 |
注意事項:
1.SG系列普通管道泵適用于高層建筑增壓送水、園林噴灌、冷卻塔上水、遠距離輸水、空調、制冷沖洗、浴室等冷;暖水循環加壓。使用溫度80℃以下。
2.SGR系列熱水管道泵適用于采暖、鍋爐等行業的高溫熱水增壓循環。使用溫度150℃以下。
3.SGP系列耐腐管道泵適用于輸送食品、制藥、造酒、化工等行業的工藝流程中腐蝕性介質,使用溫度80℃以下。
4.SGB系列防爆管道泵適用于輸送無腐蝕性液體,有甲烷或煤礦井下固定設備I類及工廠IIA、II B級,溫度組別為 T1、T2、T3、T4組存在爆炸性混合物的其它工業場所。使用溫度80℃以下。
5.SGPB系列耐腐防爆管道泵適用于輸送化工、制藥、石油、食品、國防等工業腐蝕性液體,有甲烷或煤礦井下固定設備I類及工廠IIA、IIB級,溫度組別為T1、T2、T3、T4組存在爆炸性混合物的其它工業場所。使用溫度150℃以下。