產品分類
products
聯系我們 / contact us
地址:上海市金山區楓涇鎮環東一路
郵編:201507
網址:m.qlpjdgen.com
銷售部
手機:15068285565
電話:021-5648 0189
傳真:021-5186 1633
商務QQ:3038069780
QBY氣動隔膜泵
當前位置:首頁 > QBY氣動隔膜泵QBY氣動隔膜泵
以下為系列產品選型范圍,具體型號參考性能參數表
口徑范圍 : 10-100(mm)
流量范圍 : 0-30(m3/h)
揚程范圍 : 0-40(m)
優勢:
品牌知名度高、質量可靠、終身維護
常規產品現貨供應
訂做產品交貨及時
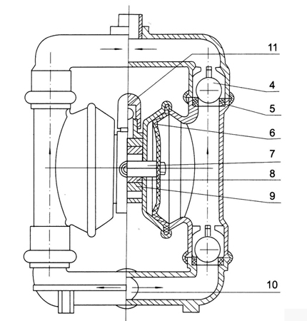
隔膜泵產品概述
本單位生產的QBY系列氣動隔膜泵是一種新型輸送機械,采用壓縮空氣為動力源,對于各種腐蝕性液體,帶顆粒的液體,高粘度、易揮發、易燃、劇毒的液體,均能予以抽光吸盡。其性能參數與聯邦德國的WLLDENPVMPS、美國的MARlOWPUMPS相近。
隔膜泵技術參數
流量:0-30m3/h;
揚程:0-40m;
口徑:10-100mm;
溫度:-15-+120℃;
壓力:0.1-0.7MPa;
自吸高度:5m。
型號定義 
使用注意事項
1.本泵振動極其輕微,一般情況可不裝底腳螺栓。
2.如壓縮空氣有臟物進入,將會影響泵的正常啟動,建議用戶加裝氣動三聯件。
3.在抽吸易凍結的介質時,應在泵的進口處裝閥門,當停止用泵時,先將該閥關閉,然后再開泵數分鐘,將泵體介質排凈為止以免造成下次開泵困難。
更換隔膜時,須將泵內腕連桿,鉛套清洗干凈,并不要損壞白色四氟密封圈,按原樣裝好,即可使用。









